PCM1798
高端解码芯片
制造商:
产品信息
PCM1798指标:
●标准输入接口:SPDIF,同轴, USB
●输入频率:44.1,48,96KHZ/ 16-24BIT自动识别。
●额定输出: 2V rms
●频率响应: 5-20KHz+-0.1db
●整机功率:<30W
芯片部分参数:
●数字截止滤波器: -98dB
●动态范围:123dB
●失真度: 2 V rms,0.0007%以下
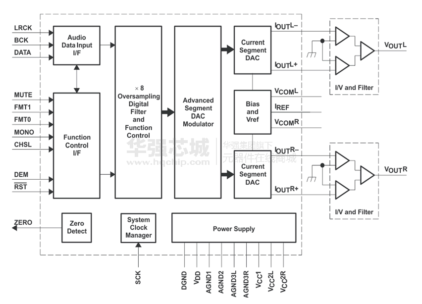
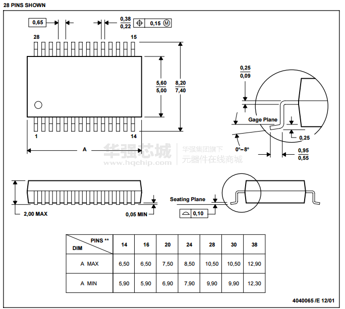
电路图、引脚图和封装图
在线购买
型号:PCM1798DB.
描述:-
型号:PCM1798DBRG4
描述:-
型号:PCM1798DBR
描述:-
型号:PCM1798DBG4
描述:-
型号:PCM1798DB
描述:-






