STTS2004
2.2 V内存模块温度传感器与一个4 kb的SPD EEPROM
制造商:
产品信息
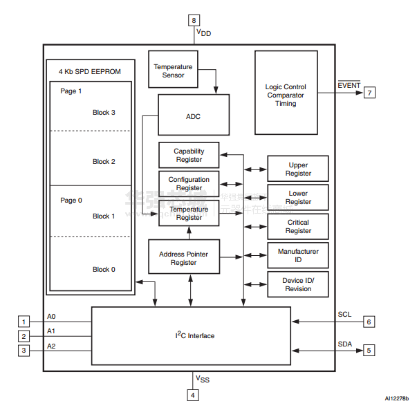
The STTS2004 is targeted for DDR4 DIMM modules in servers, desktops, and mobile personal computing platforms (laptops and other industrial applications). The thermal sensor (TS) in the STTS2004 is compliant with the JEDEC specification TSE2004a2, which defines memory module thermal sensor requirements for use in DRAM DIMMs (Dual Inline Memory Modules) with Serial Presence Detect (SPD), in which all the information concerning the DRAM module configuration (such as access speed, size, and organization) can be kept write-protected in one or more of the blocks of memory. The 4-Kbit serial EEPROM (SPD) in the STTS2004 is organized as two pages of 256 bytes each, or 512 bytes of total memory. Each page is comprised of two 128-byte blocks. The SPD is able to selectively lock the data in any or all of the four 128-byte blocks. The STTS2004 can interface to buses which have multiple devices on a shared bus, and each device has its own unique address on this bus. The device can achieve substantial power savings by using the software-programmed shutdown mode.
The TS-SPD EEPROM combination provides space as well as cost savings for mobile and server platform dual inline memory modules (DIMM) manufacturers, as it is packaged in the compact 2 mm x 3 mm 8-lead TDFN package with a thinner maximum height of 0.80 mm. The DN package is compliant to JEDEC MO-229, variation W2030D.
The digital temperature sensor has a programmable 9-12 bit analog-to-digital converter (ADC) which monitors and digitizes the temperature to a resolution of up to 0.0625 °C. The default resolution is 0.25 °C/LSB (10-bit). The typical accuracies over these temperature ranges are: ±2 °C over the full temperature measurement range of –20 °C to 125 °C, ±1 °C in the +40 °C to +125 °C active temperature range, and ±0.5 °C in the +75 °C to +95 °C monitor temperature range.
The temperature sensor in the STTS2004 is specified for operating at supply voltages from 2.2 V to 3.6 V. Operating at 3.3 V, the typical supply current is 160 μA (includes I2C communication current).
The on-board sigma-delta ADC converts the measured temperature to a digital value that is calibrated in °C. For Fahrenheit applications, a lookup table or conversion routine is required. The STTS2004 is factory-calibrated and requires no external components to measure temperature.
The digital temperature sensor component has user-programmable registers that provide the capabilities for DIMM temperature-sensing applications. The open drain event output pin is active when the monitoring temperature exceeds a programmable limit, or it falls above or below an alarm window. The user has the option to set the event output as a critical temperature output. This pin can be configured to operate in either a comparator mode for thermostat operation or in interrupt mode.
The STTS2004 is protocol-compatible with the 2 Kbit SPD in the STTS2002 and uses a page selection method which is applied to the lower or upper pages of the 4 Kbit SPD. Unlike the STTS2002, the STTS2004 does not support the Permanently Set Write Protect (PSWP) feature.
Locking a 128-byte block of the EEPROM is accomplished by using a software write protection mechanism in conjunction with a high input voltage VHVon the A0 input pin. A specific I2C sequence is used to protect each block from writes until write protection is electrically reversed using a separate I2C sequence which also requires VHVon input A0 pin of the device.
Write protection for all four blocks is cleared simultaneously, and write protection may be re-asserted after being cleared.
stts2004是针对服务器、台式机DDR4 DIMM模块,和个人移动计算平台(笔记本电脑和其它工业应用)。热传感器(TS)在stts2004符合JEDEC规范tse2004a2,它定义了存储器模块的热传感器的使用要求在DRAM DIMM(双列直插内存模块)与串行存在检测(SPD),其中所有的信息有关的DRAM模块配置(如访问速度、大小和组织)可以把写在一个或多个内存块的保护。的k位串行EEPROM(SPD)在stts2004是组织为256字节每两页,或512字节的内存总量。每一页都包含2个128字节的块。社民党能够选择性地锁定数据,在任何或所有的四个128字节的块。的stts2004 CAN接口,共享总线上有多个设备,每个设备都有公共汽车,公共汽车上自己独特的地址。该设备可以实现节省大量的功率,通过使用软件编程关机模式。
ts-spd EEPROM的结合提供了空间,以及移动和服务器平台的双列直插式内存模块(DIMM)生产的成本节约,因为它是封装在紧凑的2毫米×3毫米的8引脚TDFN封装更薄的最大高度为0.80毫米。DN封装符合JEDEC mo-229,变化w2030d。
数字温度传感器有一个可编程的9-12位模数转换器(ADC)和数字化的温度分辨率高达0.0625°C.默认分辨率为0.25°C / LSB的显示器(10位)。以上温度范围内的典型精度为:±2°,全温测量范围为20°~125°,±1°±40°±125°,±0.5°C,±75°C。
在stts2004温度传感器工作在电源电压从2.2 V至3.6 V 3.3 V操作在指定的,典型的电源电流为160μ一(包括I2C通信流)
车载Sigma-Delta ADC转换为数字值,测得的温度校准°C.为华氏应用,查找表或转换程序是必需的。是的stts2004工厂校准,不需要外部元件来测量温度。
数字温度传感器组件具有用户可编程寄存器DIMM的温度传感应用提供能力。当监测温度超过了可编程限制时,该开漏事件输出引脚是活动的,或是在报警窗口上方或下方。用户可以选择将事件输出设置为一个临界温度输出。该引脚可以配置为在一个比较器模式操作或在温控器操作或中断模式。
是的stts2004在stts2002 2 Kbit SPD兼容的协议,使用页面选择方法并应用于上下页4 Kbit SPD。不同的stts2002,stts2004不支持永久设置写保护(pswp)特征。
锁定一个128字节的块EEPROM是通过使用一个软件写在高输入电压vhvon A0输入引脚连接的保护机制。一个特定的I2C序列是用来保护每一块写直到写保护电反复使用一个单独的I2C时序这也需要vhvon A0引脚的输入装置。
所有四块写保护同时清除,并写保护,可重新断言后被清除。
Key Features
2.2 V memory module temperature sensor with integrated 4 Kb SPD EEPROM
Fully compliant with JEDEC TSE2004B2 specifications
Operating temperature range: –20 °C to +125 °C
Single supply voltage 2.2 V to 3.6 V
2 mm x 3 mm TDFN8, height: 0.80 mm (max): JEDEC MO-229, W2030D compliant and RoHS compliant, halogen-free
Temperature sensor
Temperature sensor resolution: programmable (9-12 bits) 0.25 °C (typ)/LSB - (10-bit) default
Temperature sensor accuracy (max) of: ± 1 °C (from +75 °C to +95 °C); ± 2 °C (from +40 °C to +125 °C); ± 3 °C (from –20 °C to +125 °C)
ADC conversion time: 125 ms (max) / 70 ms (typ) at default resolution (10-bit)
Typical operating supply current 160 μA (EEPROM standby)
Temperature hysteresis selectable set points from 0, 1.5, 3, 6.0 °C
4 Kb SPD EEPROM
Functionality identical to ST’s M34E04 SPD EEPROM
4 Kbits organized as two pages of 256 bytes each
Each page is composed of two 128-byte blocks
Software data protection for each 128-byte block
Byte Write within 5 ms
16 bytes Page Write within 5 ms
More than 1 million write cycles
More than 40-year data retention
Two-wire bus
Two-wire I2C compatible serial interface
Supports up to 1 MHz transfer rate (I2C Fast Mode+)
Does not initiate clock stretching
Supports SMBus timeout 25 ms - 35 ms
主要特点
2.2 V内存模块温度传感器集成4 KB的SPD EEPROM
完全符合JEDEC tse2004b2规格
工作温度范围:- 20°为±125°
单电源电压2.2伏至3.6伏
2毫米x 3毫米tdfn8,高度:0.80毫米(最大):JEDEC mo-229,w2030d符合RoHS、无卤
温度传感器
温度传感器分辨率:可编程(9-12位)0.25°C(典型值)/ LSB -(10位)的默认
温度传感器精度(最大值)为:±1°(±75°±95°);±2°C(±40°±125°);±3°C(由- 20°为±125°)
ADC转换时间:125毫秒(max)/ 70毫秒(典型值)在默认的分辨率(10位)
典型的电源电流160 A(EEPROMμ备用
温度滞后选择设定点从0,1.5,3,6°C
4 KB的SPD EEPROM
ST的m34e04 SPD EEPROM功能相同
4比特分为两页256字节
每一页由2个128个字节组成
每个128字节块的软件数据保护
字节写在5毫秒
5字节页写在16毫秒
超过100万写周期
超过40年的数据保留
双线总线
两线I2C兼容的串行接口
支持高达1 MHz的传输速率(I2C快速模式+)
不启动时钟拉伸
支持SMBus超时25毫秒35毫秒



