LC717A30UJ
Capacitance-Digital-Converter for Electrostatic Capacitive Touch Sensors
制造商:ON
产品信息
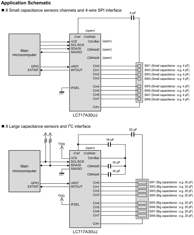
The LC717A30UJ is a high performance, low cost, and highly usable capacitance converter for electrostatic capacitive touch and proximity sensors. 8 capacitance-sensing input channels ideal for use in any end products that needs an array of switches. The LC717A30J facilitates a short system development time through its automatic calibration function and minimal external components. The detection result (ON/OFF) for each sensor is read out by the serial interface (I
C or SPI).
C or SPI).
- Detection system: Differential capacitive detection using mutual capacitance
- Sensor input pads: Operates with small to large capacitance sensor input pads
- Input capacitance resolution: Capacitance detection down to femto-Farad level
- Measurement time 16 ms for 8 sensors
- Minimal external components
- Selectable interface : I
- C or SPI
- Current consumption : 0.8 mA (V
- = 5.5 V)
- Supply voltage : 2.6 to 5.5 V
- AEC-Q100 qualified and PPAP capable
电路图、引脚图和封装图
在线购买
型号:LC717A30UJ-AH
描述:-
技术资料
应用案例
探索HMC383LC4:12 - 30 GHz GaAs PHEMT MMIC中功率放大器
2026-01-01
贸泽电子开售UnitedSiC 750V UJ4C/SC SiC FET
2022-10-28
贸泽开售采用D2PAK-7L 封装的工业用 UnitedSiC 750V UJ4C/SC SiC FET
2022-09-24
雅迪717骑行节玩出新花样!梁洁空降现场惊喜助力
2021-07-13
Fluke 717压力校准器的主要特性及功能应用
2020-11-13
LC并联谐振电路和LC串联谐振电路
2020-10-20
三星Galaxy A30s曝光将采用后置三摄像头和Infinity-V显示屏设计
2019-08-01
探索 HMC717ALP3E:4.8 - 6.0 GHz 低噪声放大器的卓越性能
2026-01-06


