LC05132C01MT
Battery Protection Controller with Integrated MOSFET, 1-Cell Lithium-Ion
制造商:ON
产品信息
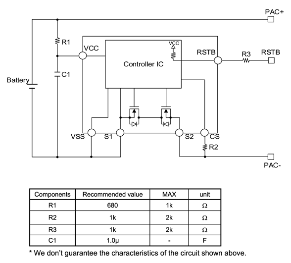
The LC05132C01MT is a protection IC for 1-cell lithium-ion secondary batteries with integrated power MOS FET. Also it integrates highly accurate detection circuits and detection delay circuits to prevent batteries from over-charging, over-discharging, over-current discharging and over-current charging. In addition, main system can execute the power-on reset of itself by turning off the charge FET and discharge FET of LC05132C01MT for a certain time period, with a reset signal. A battery protection system can be made by only LC05132C01MT and few external parts.
- Integrated power MOSFET
- Low Rsson 11mΩ
- PKG fuse trimming
- Reducing the dispersion of over-current detection
- Reset function
- Reset release time : 5s (typ) [Ta=25°C]
电路图、引脚图和封装图
在线购买
型号:LC05132C01MTTTG
描述:-

