LC05112CMT
Battery Protection Controller with Integrated MOSFET, 1-Cell Lithium-Ion
制造商:ON
产品信息
The LC05112CMT is a protection IC for 1-cell lithium-ion secondary batteries with integrated power MOS FET. Also it integrates highly accurate detection circuits and detection delay circuits to prevent batteries from over-charging, over-discharging, over-current discharging and over-current charging. A battery protection system can be made by only LC05112CMT and few external parts.
- Integrated power MOSSFET
- Low Rsson 11mΩ
- PKG fuse trimming
- Reducing the dispersion of over-current detection
- Shat down Low current
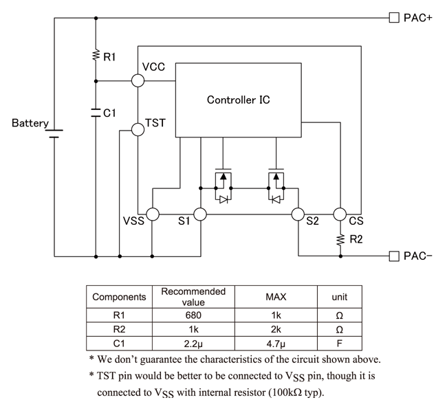
电路图、引脚图和封装图
在线购买
型号:LC05112C01MTTTG
描述:-

