HMC-C070
MicroSynth®集成式合成器模块,5.5 - 10.5 GHz
制造商:ADI/AD
产品信息
优势和特点
极为紧凑的宽带合成器
24位步长,1.2 Hz分辨率
自动和触发的扫描器功能
集成低噪声稳压器
密封模块
工作温度: -40℃至+85℃
2类ESD额定值(2 kV)
产品详情
HMC-C070 MicroSynth®是一种完全集成式宽带合成器模块,将高性能SiGe、GaAs pHEMT和InGaP HBT技术集成到紧凑的密封封装中。 输出频率范围为5.5 GHz至10.5 GHz,平均输出功率为+21 dBm,足以驱动两个混频器。 在小数N分频模式下,HMC-C070可使步长低至1.2 Hz。 HMC-C070还带有完全集成的低噪声稳压器和输出缓冲放大器,从而提供出色的推挽性能。 该模块还能够耐受恶劣环境,可以根据要求升级到更高的军用标准。
寄存器文件
HMC-C070 MicroSynth®需要在打开时进行初始化,才能够正常工作。 文件HMC-C070_register.txt包含寄存器的十六进制列表,以及使单元能够在8 GHz频率下工作的建议初始化值。
要了解工作原理和寄存器映射,请参阅MicroSynth®操作指南。
应用
军用雷达、EW和ECM
测试和测量设备
实验室仪表
工业/医疗设备
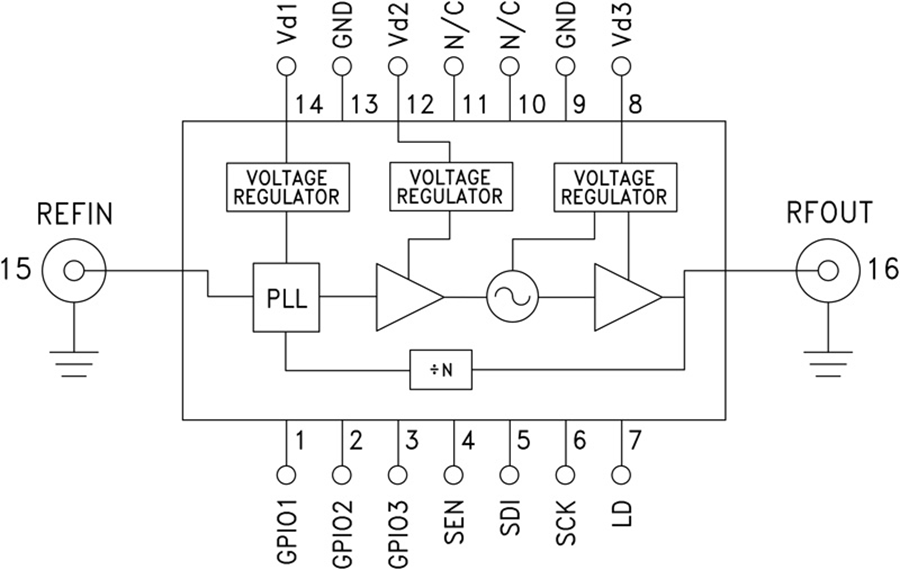
电路图、引脚图和封装图
在线购买
型号:HMC-C070
描述:-
应用案例
HMC-C010 600°模拟移相器模块,6-15GHz技术手册
2025-04-03
工程机械车载显控设备 SPD-070-Fx
2023-04-25
实战经验 | 移植 SBSFU 到 STM32G070 的过程
2023-12-09
电子工程师必看:SMTOAK2-070C TVS二极管的设计解析
2025-12-16
运动控制核芯片HMC8043A、HMC8045A性能特点及适用领域
2021-03-09
HMC8015动态升级型功率计的性能特点及应用优势分析
2021-01-29
观海微GH8555BL_BOE7.0(TV070WXU-NW0/ BP070WX2-100)搭配原理及代码
2023-01-04
观海微GH8555BL_BOE7.0(TV070WXU-NW0/BP070WX2-100)搭配原理及代码
2022-12-15

