BQ24070RHLR
单片锂离子充电和系统电源路径管理IC
制造商:
产品信息
该bq24070与BQ24071是高度集成锂离子电池线性充电器和系统电源路径针对管理设备空间受限便携式应用。该bq24070 / 1 DC报价电源( AC适配器)与电源路径管理自主动力源选择,功率FET和电流传感器,高精度的电流和电压调节,充电状态以及充电终止,在一个单片器件。该bq24070/1动力的系统独立地对电池进行充电。此功能减少了电池的充放电循环次数,可进行适当的充电终止和允许系统与缺失或有缺陷运行电池组。这一功能还允许系统瞬间打开从外部电源中的深度放电电池的情况下包。该集成电路的设计是侧重于供给连续的动力系统可从当AC适配器或电池电源。
特点:
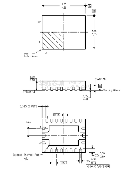
小3.5毫米× 4.5毫米QFN封装
专为单节锂离子或锂聚合物为基础的便携式应用
集成的动态电源路径管理( DPPM )功能,允许AC适配器同时动力系统和为电池充电
电源补充模式允许电池来补充AC输入电流
自动电源选择( AC适配器或BAT )
支持多达2总电流
对于充电控制热调节
充电状态输出的LED或系统
界面显示充电和故障条件
反向电流,短路和热保护
电源良好状态输出
4.4 V和6.0 V选项为系统输出
调节电压



