ATMEGA48PA-AU
8位微控制器与4/8/ 16 / 32K字节的系统内可编程闪存。
制造商:
产品信息
概述
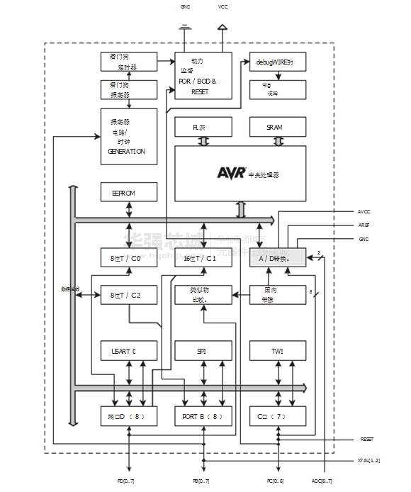
该ATmega48PA / 88PA / 168PA / 328P是一款基于低功耗8位CMOS微控制器AVR增强型RISC架构。通过在一个单一的时钟周期执行功能强大的指令,所述ATmega48PA / 88PA / 168PA / 328P的数据吞吐率高达1 MIPS每MHz,从而可以系统设计人员在功耗和处理速度之间。
特点
•高性能,低功耗的AVR ®8位微控制器
•先进的RISC架构
- 131条指令 - 绝大多数为单时钟周期执行
- 32个8位通用工作寄存器
•全静态工作
- 高达20 MIPS的吞吐量,在20兆赫
- 片上2周期乘法器
高耐用性非易失性内存段
- 4/8/ 16 /的在系统内可编程闪存编程‘内存32K字节
(ATmega48PA/88PA/168PA/328P)
- 五百十二分之二百五十六/ 512 / 1K字节EEPROM ( ATmega48PA / 88PA / 168PA / 328P )
- 512 / 1K / 1K / 2K字节的片内SRAM ( ATmega48PA / 88PA / 168PA / 328P )
- 写/擦除周期:10,000闪存/ EEPROM 100000
- 数据保存: / 20年85°C百年,在25℃
- 可选Boot代码区具有独立锁定位
在系统编程通过片上引导程序
真正的同时读 - 写操作
- 可以对锁定的软件安全
外设特性
- 两个8位定时器/计数器具有独立预分频器和比较模式
- 1个16位定时器/计数器具有独立预分频器,比较功能和捕捉
模式
- 实时计数器具有独立振荡器
- 六个PWM通道
- 8通道10位ADC的TQFP和QFN / MLF封装
温度测量
- 6通道10位ADC PDIP封装
温度测量
- 可编程的串行USART
- 主/从SPI串行接口
- 面向字节的两线串行接口(飞利浦的我2C兼容)
- 可编程看门狗定时器具有独立的片上振荡器
- 片上模拟比较器
- 中断和唤醒引脚电平变化
单片机特性
- 上电复位和可编程欠压检测
- 内部振荡器校准
- 外部和内部中断源
- 六个睡眠模式:空闲模式, ADC噪声抑制,省电,掉电,待机,
和扩展Standby
I / O和封装
- 23可编程I / O线
- 28引脚PDIP , 32引脚TQFP封装, 28 - QFN垫/ MLF以及32垫QFN / MLF
工作电压:
- 1.8 - 5.5V的ATmega48PA / 88PA / 168PA / 328P
温度范围:
– -40°C至85°C
速度等级:
- 0 - 20 MHz的@ 1.8 - 5.5V
低功耗在1 MHz , 1.8V ,25°C的ATmega48PA / 88PA / 168PA / 328P :
- 主动模式: 0.2毫安
- 掉电模式: 0.1 μA
- 省电模式: 0.75 μA (包括32千赫RTC )









