AT93C56
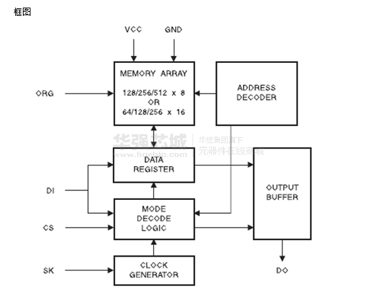
在AT93C46 / 56/ 66通过一个简单而通用的三线串行通讯访问阳离子界面。设备的操作是由主机发出的7指示控制处理器。
制造商:
产品信息
在AT93C46 / 56/ 66通过一个简单而通用的三线串行通讯访问阳离子界面。设备的操作是由主机发出的7指示控制处理器。
有效的指令开始与CS的上升沿它由一个起始位后跟适当的操作码和所需的存储器地址(逻辑“1”)位置。
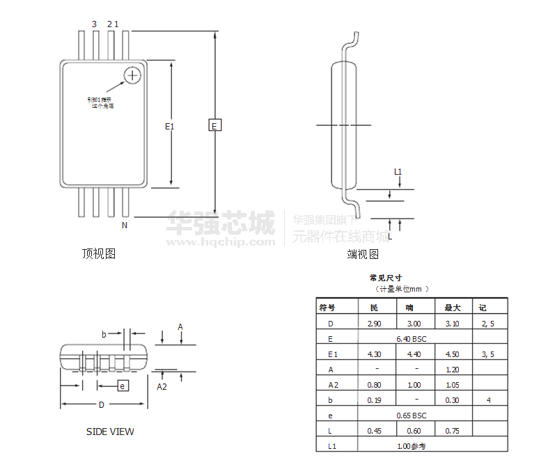
电路图、引脚图和封装图
应用案例
基于TPS56C231EVM的高效同步降压转换器设计与应用
2025-09-11
UCC28C56EVM-066评估模块技术解析与应用实践
2025-09-07
TPS56C231L评估模块技术解析与应用指南
2025-09-04
Microchip 93XX56A/B/C系列2K Microwire兼容串行EEPROM深
2026-03-03
i.MX 93系列赋能智能边缘
2023-05-25
采用PICl6C56微控制器和声道控制IC实现AV5.1音响控制系统的设计
2020-04-19
基于PICl6C56微控制器和PT2258芯片实现AV功放音响控制系统的设计
2020-05-04
AD56xx系列DAC的驱动设计与实现
2022-12-12







