AD8107
260 MHz、16 × 5缓冲式视频交叉点开关
制造商:ADI/AD
产品信息
优势和特点
16 x 5高速非阻塞式开关阵列G = 2
与16 × 8开关阵列AD8110/AD8111引脚兼容
如需16 × 16阵列,请参考AD8114/AD8115
如需16 × 8阵列,请参考AD8110/AD8111
完整的解决方案
缓冲式输入
5个输出放大器
驱动150 Ω负载
出色的视频性能
0.1 dB增益平坦度:60 MHz
差分增益误差:0.02% (RL = 150 Ω)
差分相位误差:0.02° (RL = 150 Ω)
出色的交流性能
-3 dB带宽:大于260 MHz
压摆率:500 V/µs
低功耗:50 mA
所有不利串扰低:-78 dB (5 MHz)
利用输出禁用功能可以连接多个器件输出
复位引脚可以禁用所有输出
出色的ESD保护额定性能:超过4000 V(人体模型)
80引脚LQFP封装(12 mm × 12 mm)
产品详情
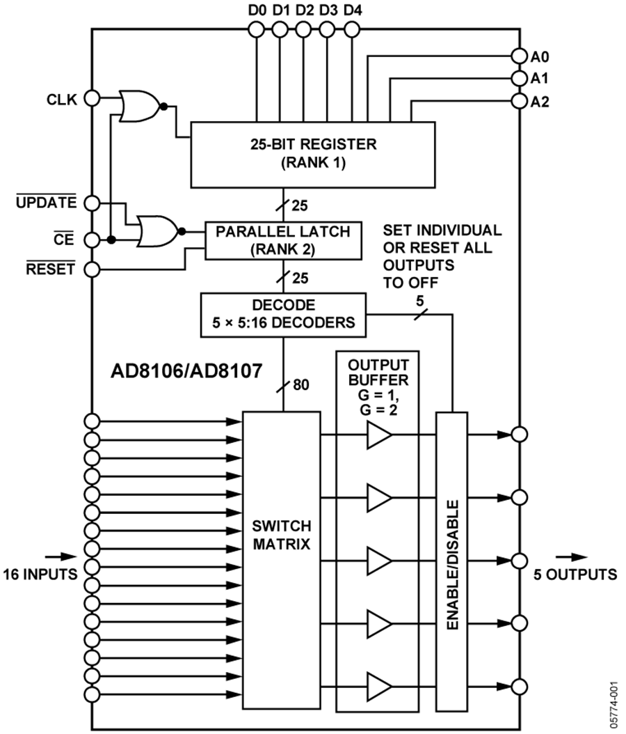
AD8106和AD8107均为高速、16 × 5视频交叉点开关矩阵,-3 dB信号带宽大于260 MHz,通道切换的1%建立时间少于25 ns。两款器件的串扰性能均为-78 dB,隔离性能为-97 dB (5 Mhz),因而适合许多高速应用。差分增益和差分相位分别优于0.02%和0.02°,0.1 dB平坦度为60 MHz,堪称视频信号开关的理想之选。
AD8106和AD8107内置5个独立输出缓冲器,可以将这些缓冲器置于高阻抗状态,以提供并行交叉点输出,防止关断通道向输出总线提供负载。AD8106具有增益1,AD8107则具有增益2。二者均采用±5 V电源供电,空闲功耗仅为30 mA。通道切换通过并行控制接口实现,各路输出可以独立更新,无需对整个阵列重新编程。
AD8106/AD8107采用80引脚LQFP封装,工作温度范围为-40°C至+85°C工业温度范围。
应用
高速信号路由,包括:
复合视频(NTSC、PAL、S、SECAM)
复合视频(YUV、RGB)
压缩视频(MPEG、小波)
3级数字视频(HDB3)
电路图、引脚图和封装图
在线购买
型号:AD8107ASTZ
描述:-

