AD5675
内置I2C接口的八通道、16位NANODAC+
制造商:ADI/AD
产品信息
优势和特点
高性能
高相对精度(INL):16位时最大±3 LSB
总不可调整误差(TUE):±0.14% FSR最大值
失调误差:±1.5 mV(最大值)
增益误差:±0.06% FSR最大值
宽工作范围
温度范围:−40°C至+125°C
2.7 V至5.5 V电源
易于实现
用户可选增益:1或2(GAIN引脚)
1.8 V逻辑兼容
I2C兼容型串行接口
鲁棒的HBM(额定值为2 kV)和FICDM ESD(额定值为1.5 kV)性能
20引脚TSSOP封装,符合RoHS标准
产品详情
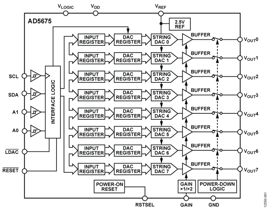
AD5675是一款低功耗、八通道、16位缓冲电压输出数模转换器(DAC)。 内置增益选择引脚,满量程输出为VREF(增益 = 1)或2 x VREF(增益 = 2)。 采用2.7 V至5.5 V单电源供电,通过设计保证单调性。 AD5675采用20引脚TSSOP封装。 上电复位电路和RSTSEL引脚确保输出DAC上电至零电平或中量程,直到执行一次有效的写操作为止。 AD5675具有关断模式,此模式下的功耗典型值可降至1 μA。 AD5675采用多功能双线式串行接口,时钟速率最高达400 kHz,包含一个为1.8 V至5 V逻辑电平准备的VLOGIC引脚。应用
光收发器
基站功率放大器
过程控制(PLC输入/输出卡)
工业自动化
数据采集系统
电路图、引脚图和封装图
在线购买
型号:AD5675BRUZ-REEL7
描述:-
型号:AD5675BRUZ
描述:-
型号:AD5675BCPZ-RL
描述:-
型号:AD5675BCPZ-REEL7
描述:-
型号:AD5675ARUZ-REEL7
描述:-
型号:AD5675ARUZ
描述:-


