AD5671R
八通道12位nanoDAC+,内置2 PPM/°C基准电压源和I2C接口
制造商:ADI/AD
产品信息
优势和特点
高性能高相对精度(INL): ±3 LSB(最大值,16位)总非调整误差(TUE):0.14% FSR(最大值)失调误差:±1.5 mV(最大值)增益误差: ±0.06% FSR最大值 低漂移2.5 V基准电压源: 2 ppm/°C(典型值)
宽工作范围温度范围:−40°C至+125°C电源电压:2.7 V至5.5 V
易于实现用户可选增益:1或2(GAIN引脚)复位至零电平或中间电平(RSTSEL引脚)1.8 V逻辑兼容性
400 kHz I2C兼容型串行接口
鲁棒的HBM(额定值为2 kV)和FICDM ESD(额定值为1.5 kV)性能
20引脚TSSOP和LFCSP封装,符合RoHS标准
产品详情
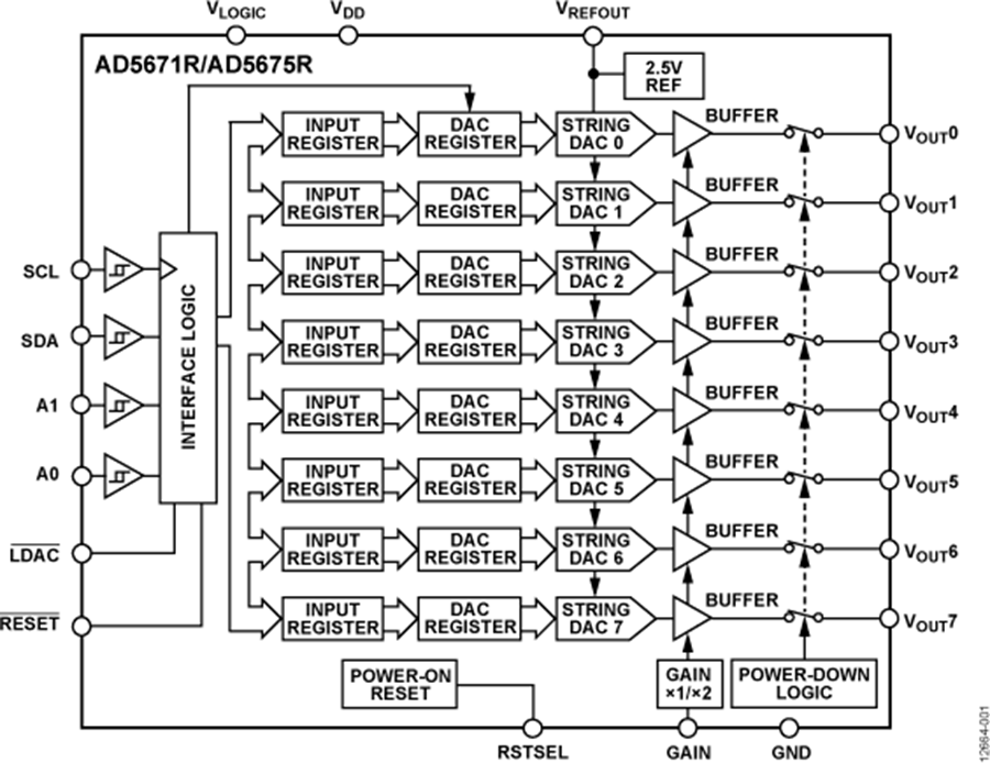
AD5671R/AD5675R分别是低功耗、8通道、12/16位缓冲电压输出数模转换器(DAC)。 内置2.5 V、2 ppm/˚C内部基准电压源(默认使能)和增益选择引脚,满量程输出为2.5 V(增益=1)或5 V(增益=2)。 采用2.7 V至5.5 V单电源供电,通过设计保证单调性。 AD5671R/AD5675R采用20引脚TSSOP和LFCSP封装,内置一个上电复位电路和一个RSTSEL引脚,确保DAC输出上电至零电平或中间电平,直到执行一次有效的写操作为止。 AD5671R/AD5675R具有关断模式,此模式下的功耗典型值可降至1 μA。
产品特色
高相对精度(INL)。AD5671R(12位): ±1 LSB(最大值)AD5675R(16位): ±3 LSB(最大值)
低漂移2.5 V片内基准电压源
应用
光收发器
基站功率放大器
过程控制(可编程逻辑控制[PLC] I/O卡)
工业自动化
数据采集系统
电路图、引脚图和封装图
在线购买
型号:AD5671RBRUZ-REEL7
描述:-
型号:AD5671RBRUZ
描述:-
型号:AD5671RBCPZ-RL
描述:-
型号:AD5671RBCPZ-REEL7
描述:-
应用案例
基于AD7147和AD7148的医疗保健设计方案【电容数字转换器技术】
2018-01-30
组合逻辑控制器与微程序控制器各有什么特点?
2024-06-30
电动车火灾频发!灵途科技增强型智能安全光幕探测系统助力电梯精准阻车,守护消防安全
2024-03-01
麦格纳携一款全新的800v电驱动电机亮相CES 2024
2024-03-29
采用AD693AD构成的测温范围0°C~600°C的电路图
2009-07-17
控制阀有哪几种控制方式
2024-06-30
速锐得解码广汽智能数字技术车型埃安Y纯电动CAN数据DBC控制策略
2024-03-29
AD9520/AD9522 时钟发生与分配IC,实现最佳器件
2008-10-08


