AD5315
2.5 V至5.5 V、500 µA、双线式接口、四通道、电压输出10位DAC
制造商:ADI/AD
产品信息
优势和特点
4个10位DAC,采用10引脚MicroSOIC封装
低功耗:600 µA (5 V),500 µA (3 V)
关断模式的功耗:200 nA (5 V),80 nA (3 V)
通过设计保证单调性
上电复位至0 V
三种关断功能
双缓冲输入逻辑
输出范围:0 V至VREF
双线式(I2C™兼容)串行接口
数据回读设置;软件清零设置
通过LDAC位(低电平有效)同时更新
温度范围:-40°C至105°C
产品详情
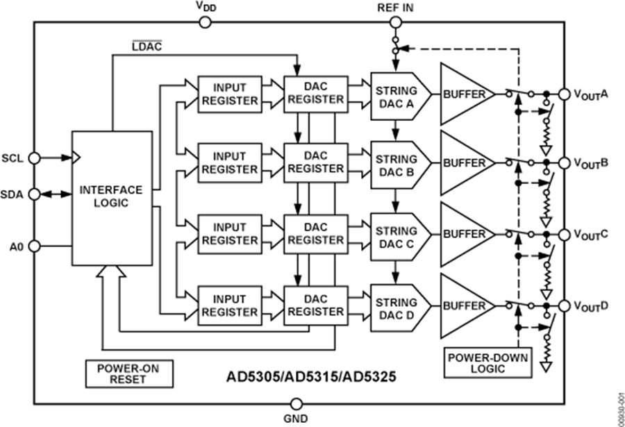
AD5305/AD5315/AD5325分别是四通道8/10/12位、缓冲电压输出DAC,提供10引脚microSOIC封装,采用2.5 V至5.5 V单电源供电,3 V时功耗为500 µA。这些器件内置片内输出放大器,能够提供轨到轨输出摆幅,压摆率为0.7 V/μs。所用的双线式串行接口能够以最高400 kHz时钟速率工作。当VDD
产品特色
提供10引脚MicroSOIC封装
低功耗,采用2.5 V至5.5 V单电源供电
3 V时功耗为1.5 mW,5 V时功耗为3 mW
轨到轨输出,压摆率为0.7 V/µs
多个器件可以共用同一总线
串行接口,时钟速率最高达400 kHz
与AD5305(8位)和AD5325(12位)引脚兼容、软件兼容
I2(Inter-IC)是飞利浦半导体公司的商标。
电路图、引脚图和封装图
在线购买
型号:AD5315BRMZ-REEL7
描述:-
型号:AD5315BRMZ-REEL
描述:-
型号:AD5315BRMZ
描述:-
型号:AD5315BRM
描述:-
型号:AD5315ARMZ-REEL7
描述:-
型号:AD5315ARMZ
描述:-


