AD5100
系统管理IC,具有可编程四通道电压监控与管理功能
制造商:ADI/AD
产品信息
优势和特点
2个设备使能输出,以及6个可编程监控输入(参见表1)
I2C兼容接口
MOST50兼容输入- 利用V2MON与V4MON的诊断应用
OTP1用于永久阈值与时序设置
OTP可被改写,以实现动态调整
一路5 V监控输入,可对外部设备进行复位控制- 可编程复位阈值与保持时间
三路30 V监控输入,可对外部设备进行关断控制- 可编程过压、欠压、上电与断电阈值,以及关断时序- 关断报警,具有故障检测功能- 外部设备的复位控制
两种监控功能- 看门狗复位控制器,具有可编程超时和可选浮点输入- 手动复位控制,用于外部设备
工作范围- 电源电压:3.0 V ~ 30 V- 温度范围:–40°C ~ +125°C- 低关断电流:10 µA
通过I2C软件断电
通过边沿触发信号上电
高电压输入防迁移屏蔽引脚
产品详情
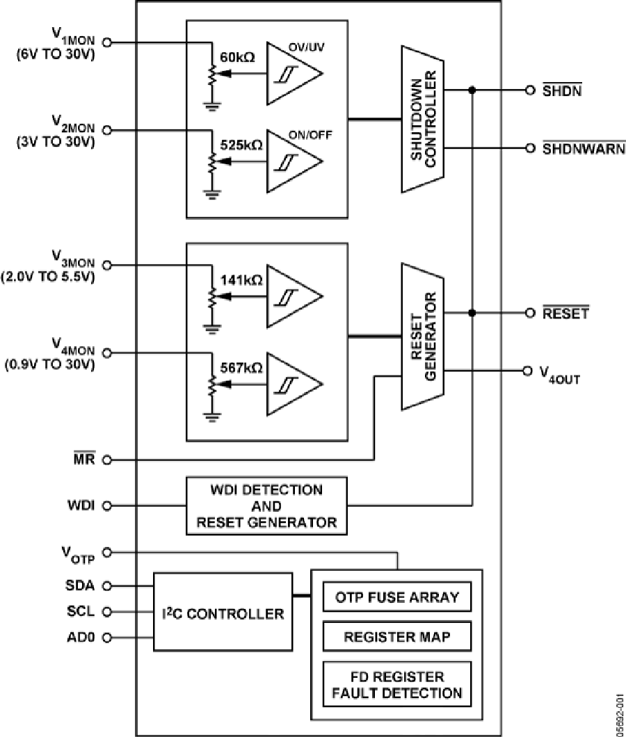
AD5100是一款可编程系统管理IC,它集成了四通道电压监控与一个看门狗管理电路,当系统出现故障时,能够关断外部电源、复位处理器,或禁用其它系统电子设备。AD5100也可用于保护系统,避免由于不正确的设备上电时序而引起的故障。AD5100内部极具鲁棒性的看门狗复位控制器能够监控两路30 V输入(具有关断和复位控制功能),一路2.3 V ~ 5.0 V输入,以及一路1.6 V ~ 8 V输入。大多数监控输入阈值与定时设置都可实时编程,或利用OTP特性由工厂永久设定。AD5100是一款通用器件,适合于关键微处理器、DSP以及嵌入式系统工作在恶劣的汽车、工业、通信网络环境等系统监控应用。
AD5100采用紧凑型QSOP-16封装,可在扩展的汽车温度范围(-40°C ~ +125°C)内工作。
应用
汽车系统
网络设备
计算机、控制器与嵌入式系统
Data Sheet, Rev. PrK, 10/07
电路图、引脚图和封装图
在线购买
型号:AD5100YRQZ-1RL7
描述:-


